如何看待華為成功注冊「姚思為」商標,系姚安娜原名?
2021-12-03 10:50:14 瀏覽人數:4904 新聞來源: 微型VI設計-深圳市標派視覺品牌設計有限公司
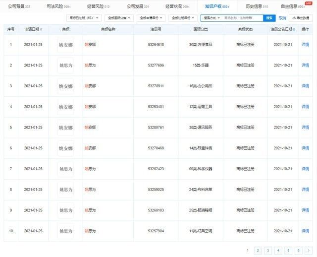
企查查App顯示,近期,華為技術有限公司成功注冊姚思為、YAO SIWEI、ANNABEL YAO商標,商標國際分類涉服裝鞋帽、方便食品等。企查查顯示,華為目前也已經完成了姚安娜商標的注冊。據悉,姚安娜原名為姚思為,為華為創始人任正非的小女兒。 ANNABEL YAO為其英文名字。
https://www.m.dg-xinglong.com/ 
聲明:本文“ 如何看待華為成功注冊「姚思為」商標,系姚安娜原名? ”信息內容來源于網絡,文章版權和文責屬于原作者,不代表本站立場。如圖文有侵權、虛假或錯誤信息,請您聯系我們,我們將立即刪除或更正。